大型滚筒筛石机
大型滚筒筛石机是使用齿圈传动的滚筒筛的一种,由于整机较重,再加上物料,该机使用齿圈传动,让该机更耐用,使用过程中更稳定,广泛应用于电力、矿山、冶金、建材,化工等生产行业。常用于耐火材料、煤炭、化肥、砂场石块的分级,以及煤,焦炭,白灰,砂金矿等粘湿物料的筛。共方峁垢日,以满足生产需要。真机图片
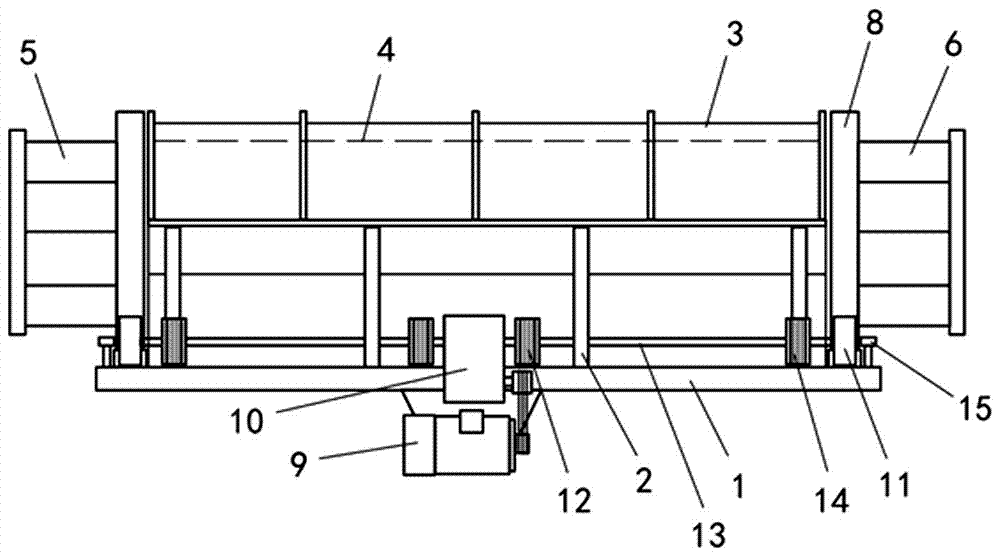
工作原理图
无轴滚筒筛滚筒装置倾斜安装于机架上,采用无中心轴结构设计。电机带动咬合的小齿轮与滚筒的大齿轮转动或者链条与滚筒上的齿轮咬合,电机带动链条传动或者滚筒放在两根托辊上,电机带动托辊传动。滚筒装置在驱动装置的驱动下转动,当物料进入滚筒装置后,由于滚筒装置的倾斜与转动,使筛面上的物料翻转与滚动,使合格物料(筛下产品)经滚筒后端底部的出料口排出,不合格的物料(筛上产品)经滚筒尾部的排料口排出。由于物料在滚筒内的翻转、滚动,使卡在筛孔中的物料可被弹出,防止筛孔堵塞。
相比优势
无轴的滚筒筛与有中心轴的滚筒筛相比,它的结构更加简单,在滚筒筛接近振动电机的一端,滚筒四周均匀的焊接上几个钢筋条,钢筋条的另一端汇聚到滚筒的中心轴线上,经过固定后通过齿轮连接振动电机,当振动电机启动,滚筒也就跟着转动起来,跟有轴的滚筒筛一样的筛分原理。无轴滚筒筛相对来说更加节省材料,筛分物料的空间更大,当滚筒发生故障时候检修也比较容易,所以无轴滚筒筛的使用也非常多。例如用于生活垃圾前处理,它可以将所需的垃圾筛选出来,无轴的好处是可避免物料的缠绕,筛分效率也比较高。操作说明
1、选择合适的场地将设备放平放好,应首先确认地基有足够的强度(必要时用混凝土硬化),以保证设备能够正常安全工作;
2、检查各部位螺栓有无松动、各运行部位是否异常;
3、接通电源检查电机及各个传动部位工作是否正常;
4、空载试车,检查电机、传动部件温升情况及是否有异响;
5、试车正:蠓娇杉恿瞎ぷ,观察出料是否正常,带正:蠊乇彰芊飧衾胝,应先开皮带机,再开滚筒筛,进料口加料要均匀不可过量;检查出料粒径和有无漏料及扬尘情况。
6、严禁带负荷强行启动,每班工作完毕停机前应将输送机的 物料卸载完毕。
直线振动筛分筛选机
- 直线筛-振动筛-筛分-新乡振动筛厂家-振动筛实体厂家-振动筛那家好
- 直线筛-直线筛厂家-直线筛原理-不锈钢直线筛-直线价格-新乡直线筛厂家-w66利来最给利的老牌机械
- 直线筛-振动筛-筛分-直线筛价格-振动筛实体厂家-振动筛那家好
- 直线筛-不锈钢直线筛-振动筛-新乡振动筛-直线筛原理-直线筛价格-振动筛源头-w66利来最给利的老牌机械
- 直线筛-振动筛-筛分-新乡振动筛厂家-振动筛实体厂家-振动筛那家好-w66利来最给利的老牌机械
- 直线筛-矿用直线筛-振动筛-振动筛价格-直线筛厂家-w66利来最给利的老牌机械
- 圆形振动筛 -圆形振动筛-直线筛-选w66利来最给利的老牌机械 老企业 老品牌
- 直线筛-振动筛-筛分-新乡振动筛厂家-振动筛那家好-直线筛型号
- 直线筛-振动筛-筛分-新乡振动筛厂家-振动筛实体厂家-振动筛那家好
- 直线振动筛,直线筛-长方形振动筛-不锈钢直线振动筛-w66利来最给利的老牌机械
- 直线筛-振动筛-筛分-新乡振动筛厂家-振动筛那家好
- 直线筛-直线振动筛-筛分-新乡厂家-振动筛那家好
- 废料脱水筛
- 原煤脱介筛
- 洗煤脱介筛
- 洗煤振动筛
- 高效石油钻井液脱水筛
- 分级振动筛
- 方形振动筛
- 多层标准直线筛
- 钻井液振动筛
- 矿用直线筛
- 细沙回收机
- 钻井液振动筛
- 概率筛
- 直线弹臂筛
- 石油振动筛
- 矿用振动筛
- 高频振动筛
- 重型棒条筛
- 摩根森筛
- 激振器式脱水筛
- 矿石矿用振动筛
- 高频直线脱水筛
- 不平衡振动筛
- 牛粪直线脱水筛机
- 保温材料直线筛分机
- 树脂粉多层直线筛粉机
- 1560单层直线振动筛
- 石榴石直线筛分机
- 不锈钢密封直线筛
- 直线概率筛
- 弛张式脱水筛
- 不锈钢直线振动筛
- 直线矿用振动筛
- 移动式直线筛沙机
- 煤泥脱水筛
- 直线尾矿干排筛
- 直线钢球筛分机
- 水洗砂脱水筛
圆振动筛分筛选机
- 摇摆筛-摇摆筛厂家-方形摇摆筛-不锈钢摇摆筛-摇摆筛批发-w66利来最给利的老牌机械
- 圆振动筛振动筛-砂石分离-振动筛厂家-砂石骨科—破碎机.-新乡实体厂家
- 聚丙烯振动筛
- 振动筛砂机
- 冶金振动筛
- 矿山振动筛
- 单轴振动筛
- 矿山振动筛
- 块矿筛
- 煤矿振动筛
- 圆振筛
- 圆振型弛张筛
- 焦化筛
- 焦化筛
- 双层编织网式圆振动筛
- 石英砂棒条圆振动筛
- YK1545圆振动筛
- 轻型便宜圆振动筛
- YK棒条式圆振动筛
- 水平式三轴椭圆振动筛
- 双轴椭圆振动筛
- 椭圆弛张振动筛
- 偏心块式圆振动筛
回转摇摆筛分筛选机
- 摇摆筛-微分筛分-石英砂筛分-新乡摇摆筛实体厂家-微粉精度高-方形摇摆筛-w66利来最给利的老牌机械
- 摇摆筛-微分筛分-方形摇摆筛-石英砂筛分-新乡摇摆筛实体厂家-微粉筛分-w66利来最给利的老牌机械
- 石子筛
- 碳素筛
- 方摇
- 圆摇
- 吊式高频筛
- 方摇筛
- 长方形摇摆筛
- 不锈钢摇摆筛
- 圆盘摇摆筛
- 方摇筛
- 尿素平面旋回筛
- 陶瓷磨料摇摆筛分机
- 多层方形摇摆分级筛
- 纤维素摇摆回转筛粉机
- 柠檬酸摇摆筛粉机
- 饲料平面回转筛
- 石英砂方形摇摆筛
- 糖,盐业专用摇摆筛
- 平面摇摆回转筛
精细圆形筛分筛选机
- 旋振筛-圆振筛-精细筛分设备-旋振筛价格-三次元旋振筛-振动筛厂家-w66利来最给利的老牌机械
- 摇摆筛-摇摆筛的原理-摇摆筛的结构-摇摆筛的价格-摇摆筛那家好-摇摆筛厂家
- 旋振筛-圆振筛-精细筛分设备-旋振筛价格-三次元旋振筛-振动筛厂家-w66利来最给利的老牌机械
- 精细筛分-新乡振动筛_直线筛_旋振筛_振动筛厂家_-三次元振动筛-w66利来最给利的老牌机械
- 摇摆筛-微分筛分-石英砂筛分-新乡摇摆筛实体厂家-微粉精度高-w66利来最给利的老牌机械
- 蛋白粉摇摆筛
- 不损茶叶摇摆筛
- 面粉无尘投料筛分
- 红薯淀粉筛粉机
- 多层圆盘振动筛
- 圆盘移动筛
- 食品振动筛
- 振荡筛
- 中药粉振动筛
- 硅微粉除杂机
- 煤焦油过滤机
- 花生粉除渣筛分机
- 不锈钢粉体颗粒筛
- 磨料粉末超声波振动筛
- 陶瓷浆液除杂筛分机
- 豆浆液体筛分机
- 塑料防腐筛分机
- 粉末筛
- 微型粉末筛粉机
- 不锈钢圆盘振动筛
- 刷子筛
- 颗粒振动筛
- 颗粒振动筛
- 淀粉振动筛
- 超声波振动筛
- 果汁过滤筛机
- 味精鸡精振动筛
- 玻璃粉筛粉机
- 聚丙烯塑料振动筛
- 超声波旋振筛
- 氧化铝振动筛分机
- 洗衣粉直排筛
- 三次元旋振筛
- 圆形高频振动筛
相关新闻
- 2020-06-11 振动筛运输过程中有破损,应该划分责任
- 2020-01-07 维生素粉振动筛选择超声波的合适吗?
- 2021-04-11 振动筛防尘罩的样式的作用及功效
- 2021-11-08 污水脱水筛选用的是叠层脱水筛可以保证产量
- 2020-03-31 大型滚筒筛鹅卵石机械厂家哪家好?
- 2020-01-06 不锈钢振动筛分机质量优势在哪里,又有那些问题!
- 2020-01-13 用自定中心振动筛图片详细说明结构工作原理
- 2020-12-09 硫磺粉选用圆盘摇摆筛的使用优势
- 2020-04-19 废料资源清洗回收使用脱水振动筛
- 2022-05-07 脱水筛_高效高频脱水筛_筛分-脱水筛工作原理_砂石骨科_w66利来最给利的老牌机械






