生活垃圾弹跳筛风机
生活垃圾弹跳筛风机是一种通过弹跳筛板及风机筛选的一种筛机,筛板通过振动器来实现振动,由于塑料瓶的体积较大,振动器的振动幅度很难满足将混在塑料瓶中的瓶盖和标签完全分离,导致通过弹跳筛后还需要进行人工检查分拣。
分拣原理
生活垃圾弹跳筛风机筛板会根据垃圾的不同外观形状和特点,将垃圾分选至筛上或筛下。垃圾弹跳筛根据垃圾的不同特点,对垃圾进行分类,可从纸板、废纸和薄膜中分选出塑料垃圾。也适用于从圆柱形垃圾瓶、易拉罐中分离出轻物质,如薄膜。根据运动速度的不同,3D形状的垃圾会被弹至筛下,而薄膜、纸等2D形状的垃圾则会被弹至筛上,从而达到垃圾分类的目的。通过调节筛盘的角度,可以调节分选精度。垃圾弹跳筛通常安装在垃圾回收系统的自动分拣线的起始机器,以提高可回收废弃物的类型以最大化后端分离器的分离效率。
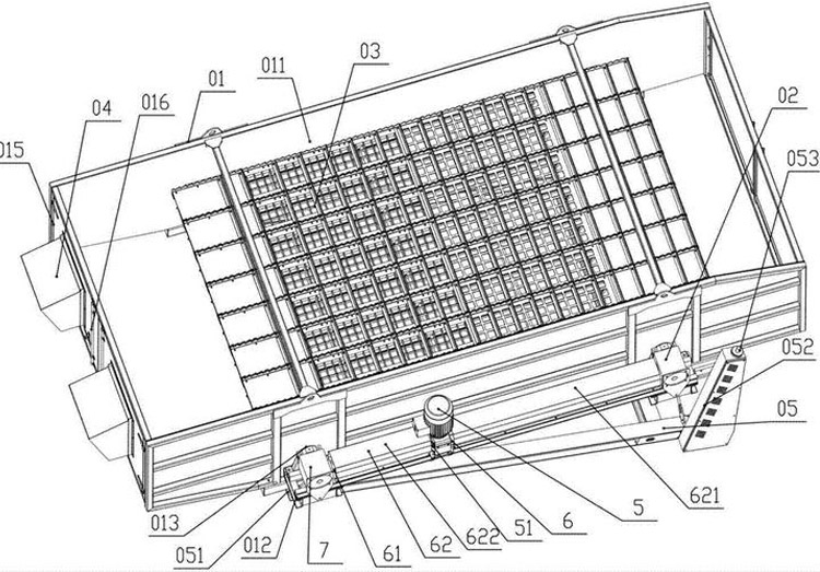
真机图片
外形图纸
技术参数
| 型号 | TTS-10 | TTS-20 | TTS-30 | 备注 |
| 驱动功率 (Kw) | 7.5KW+5.5kw | 11KW+5.5kw | 11KW+7.5kw | 可定制 |
| 驱动装置 | 电机+减速机 | 可定制 | ||
| 工作宽度 (mm) | 2500 | 3000 | 35000 | 可定制 |
| 筛板长度 (mm) | 4300 | 5300 | 6300 | 可定制 |
| 长*宽*高/mm | 6500*2500*3500 | 7000*3500*4500 | 7500*4200*5000 | 可定制 |
| 筛板面积 (m?) | 4 | 6 | 8 | 可定制 |
| 最大处理量 (m3/h) | 5~15 | 15~20 | 20~30 | 可定制 |
| 筛孔直径/mm | 根据具体物料确定 | |||
| 上罩 | 塑料/钢/不锈钢 | |||
直线振动筛分筛选机
- 直线筛-振动筛-筛分-新乡振动筛厂家-振动筛实体厂家-振动筛那家好
- 直线筛-直线筛厂家-直线筛原理-不锈钢直线筛-直线价格-新乡直线筛厂家-w66利来最给利的老牌机械
- 直线筛-振动筛-筛分-直线筛价格-振动筛实体厂家-振动筛那家好
- 直线筛-不锈钢直线筛-振动筛-新乡振动筛-直线筛原理-直线筛价格-振动筛源头-w66利来最给利的老牌机械
- 直线筛-振动筛-筛分-新乡振动筛厂家-振动筛实体厂家-振动筛那家好-w66利来最给利的老牌机械
- 直线筛-矿用直线筛-振动筛-振动筛价格-直线筛厂家-w66利来最给利的老牌机械
- 圆形振动筛 -圆形振动筛-直线筛-选w66利来最给利的老牌机械 老企业 老品牌
- 直线筛-振动筛-筛分-新乡振动筛厂家-振动筛那家好-直线筛型号
- 直线筛-振动筛-筛分-新乡振动筛厂家-振动筛实体厂家-振动筛那家好
- 直线振动筛,直线筛-长方形振动筛-不锈钢直线振动筛-w66利来最给利的老牌机械
- 直线筛-振动筛-筛分-新乡振动筛厂家-振动筛那家好
- 直线筛-直线振动筛-筛分-新乡厂家-振动筛那家好
- 废料脱水筛
- 原煤脱介筛
- 洗煤脱介筛
- 洗煤振动筛
- 高效石油钻井液脱水筛
- 分级振动筛
- 方形振动筛
- 多层标准直线筛
- 钻井液振动筛
- 矿用直线筛
- 细沙回收机
- 钻井液振动筛
- 概率筛
- 直线弹臂筛
- 石油振动筛
- 矿用振动筛
- 高频振动筛
- 重型棒条筛
- 摩根森筛
- 激振器式脱水筛
- 矿石矿用振动筛
- 高频直线脱水筛
- 不平衡振动筛
- 牛粪直线脱水筛机
- 保温材料直线筛分机
- 树脂粉多层直线筛粉机
- 1560单层直线振动筛
- 石榴石直线筛分机
- 不锈钢密封直线筛
- 直线概率筛
- 弛张式脱水筛
- 不锈钢直线振动筛
- 直线矿用振动筛
- 移动式直线筛沙机
- 煤泥脱水筛
- 直线尾矿干排筛
- 直线钢球筛分机
- 水洗砂脱水筛
圆振动筛分筛选机
- 摇摆筛-摇摆筛厂家-方形摇摆筛-不锈钢摇摆筛-摇摆筛批发-w66利来最给利的老牌机械
- 圆振动筛振动筛-砂石分离-振动筛厂家-砂石骨科—破碎机.-新乡实体厂家
- 聚丙烯振动筛
- 振动筛砂机
- 冶金振动筛
- 矿山振动筛
- 单轴振动筛
- 矿山振动筛
- 块矿筛
- 煤矿振动筛
- 圆振筛
- 圆振型弛张筛
- 焦化筛
- 焦化筛
- 双层编织网式圆振动筛
- 石英砂棒条圆振动筛
- YK1545圆振动筛
- 轻型便宜圆振动筛
- YK棒条式圆振动筛
- 水平式三轴椭圆振动筛
- 双轴椭圆振动筛
- 椭圆弛张振动筛
- 偏心块式圆振动筛
回转摇摆筛分筛选机
- 摇摆筛-微分筛分-石英砂筛分-新乡摇摆筛实体厂家-微粉精度高-方形摇摆筛-w66利来最给利的老牌机械
- 摇摆筛-微分筛分-方形摇摆筛-石英砂筛分-新乡摇摆筛实体厂家-微粉筛分-w66利来最给利的老牌机械
- 石子筛
- 碳素筛
- 方摇
- 圆摇
- 吊式高频筛
- 方摇筛
- 长方形摇摆筛
- 不锈钢摇摆筛
- 圆盘摇摆筛
- 方摇筛
- 尿素平面旋回筛
- 陶瓷磨料摇摆筛分机
- 多层方形摇摆分级筛
- 纤维素摇摆回转筛粉机
- 柠檬酸摇摆筛粉机
- 饲料平面回转筛
- 石英砂方形摇摆筛
- 糖,盐业专用摇摆筛
- 平面摇摆回转筛
精细圆形筛分筛选机
- 旋振筛-圆振筛-精细筛分设备-旋振筛价格-三次元旋振筛-振动筛厂家-w66利来最给利的老牌机械
- 摇摆筛-摇摆筛的原理-摇摆筛的结构-摇摆筛的价格-摇摆筛那家好-摇摆筛厂家
- 旋振筛-圆振筛-精细筛分设备-旋振筛价格-三次元旋振筛-振动筛厂家-w66利来最给利的老牌机械
- 精细筛分-新乡振动筛_直线筛_旋振筛_振动筛厂家_-三次元振动筛-w66利来最给利的老牌机械
- 摇摆筛-微分筛分-石英砂筛分-新乡摇摆筛实体厂家-微粉精度高-w66利来最给利的老牌机械
- 蛋白粉摇摆筛
- 不损茶叶摇摆筛
- 面粉无尘投料筛分
- 红薯淀粉筛粉机
- 多层圆盘振动筛
- 圆盘移动筛
- 食品振动筛
- 振荡筛
- 中药粉振动筛
- 硅微粉除杂机
- 煤焦油过滤机
- 花生粉除渣筛分机
- 不锈钢粉体颗粒筛
- 磨料粉末超声波振动筛
- 陶瓷浆液除杂筛分机
- 豆浆液体筛分机
- 塑料防腐筛分机
- 粉末筛
- 微型粉末筛粉机
- 不锈钢圆盘振动筛
- 刷子筛
- 颗粒振动筛
- 颗粒振动筛
- 淀粉振动筛
- 超声波振动筛
- 果汁过滤筛机
- 味精鸡精振动筛
- 玻璃粉筛粉机
- 聚丙烯塑料振动筛
- 超声波旋振筛
- 氧化铝振动筛分机
- 洗衣粉直排筛
- 三次元旋振筛
- 圆形高频振动筛
相关新闻
- 2021-01-05 沸腾筛按照激振传动方式可以分为以下几种
- 2021-04-19 筛粉机使用寿命短问题及处理办法
- 2020-01-12 使用矿用筛分机振幅调节计算方式
- 2020-03-24 优质斗式提升机料斗是根据客户要求定做的料斗
- 2020-08-11 方形摇摆筛可以做到几层的,效果怎么 !
- 2020-03-18 矿用固定筛选型及技术优势
- 2022-05-17 振动筛效率低-振动筛漏料影响生产效率怎么处理?3大原因分析及处理
- 2020-01-12 硅灰石开采中选用什么振动筛,多少钱合适?
- 2020-09-26 超声波振动筛非标产品定做要求
- 2021-10-13 专利振动筛产品“沸腾筛”细微粉行业使用优势






