w66利来最给利的老牌

您的当前位置: 河南w66利来最给利的老牌振动筛厂家 > 新闻中心 > 行业资讯 > 正文

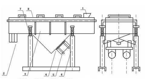
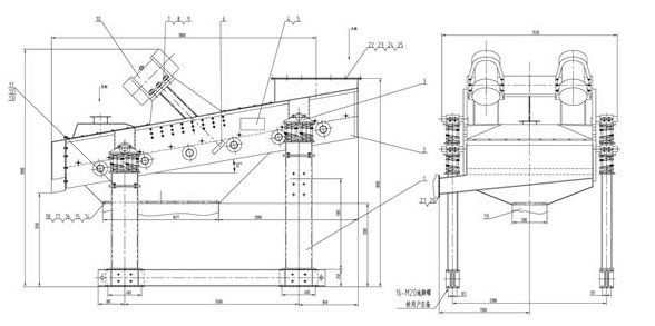
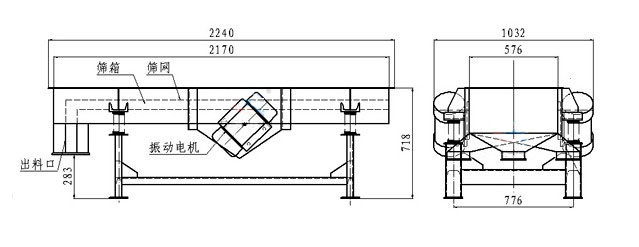
直线振动筛电机两侧安装,上部安装,下部安装图

2020/1/14 13:24:06

直线振动筛电机安装位置很多,安装方式很多,有上部、两侧、下部,下面分享这几种电机的安装图,分享给大家。

直线振动筛电机上部安装图

直线振动筛电机上部安装图

直线振动筛电机侧边安装图

直线振动筛电机侧边安装图

直线振动筛电机下部安装图

直线振动筛电机下部安装图

我们公司可生产上部、下部、侧边电机安装的直线振动筛,欢迎来电垂询


本文由w66利来最给利的老牌设备有限公司编辑上传,转载请注明来源:/hyzx/82.html
你也许还需要这些设备!

特种筛分筛选机

直线振动筛分筛选机

圆振动筛分筛选机

回转摇摆筛分筛选机

精细圆形筛分筛选机

相关新闻

2020-01-12 硅灰石开采中选用什么振动筛,多少钱合适?
2021-04-28 玻璃制造行业原料分级-不堵不卡微粉沸腾筛
2021-01-13 橡胶粉筛分机吸附筛板问题筛分解决
2020-05-17 多层振动分离机筛分、脱介、除杂功能多多
2020-03-31 滚筒分级筛分级滚筒的驱动方式可筛各种砂石
2021-07-19 滚筒破袋筛分机-破袋筛分机-破袋筛选机
2022-05-07 洗砂机-洗砂机原理-矿用洗砂机-洗砂机厂家-洗砂机的应用-洗砂机
2021-10-05 湿式细粒筛分机选用聚氨酯沸腾筛效果佳
2021-08-25 云南振动筛使用的大多是新乡地区生产的振动筛
2021-07-05 悬挂式直线摇摆筛多层设备应用范围广

振动筛专业厂家-河w66利来最给利的老牌乡鹏威机械厂 技术支持:志远网络

地 址 :河南省新乡市环宇工业园区 业务电话:13346663698 网址:www.cnshaiji.com 豫ICP备20002553号

X
sitemap网站地图