w66利来最给利的老牌


您的当前位置: 河南w66利来最给利的老牌振动筛厂家 > 新闻中心 > 行业资讯 > 正文

常见的几种直线振动筛结构图

2020/1/14 13:40:59

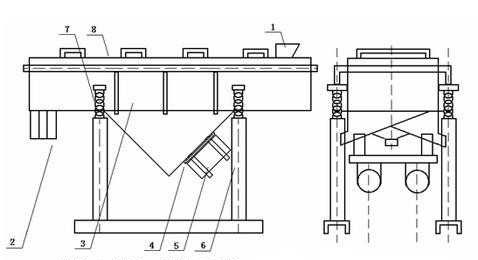
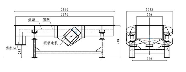
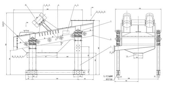
我们熟知的针线振动筛有上激振直线筛、下激振直线筛、侧板激振直线、稀油激振器式直线筛,下面我们来详细说明一下几种形式的结构图。

稀油激振器式直线振动筛结构图

稀油激振器式直线振动筛结构图

上部激振直线振动筛结构图

上部激振直线振动筛结构图


吊式直线振动筛结构图

吊式直线振动筛结构图

两侧激振直线振动筛结构图

两侧激振直线振动筛结构图

下部激振直线振动筛结构图

下部激振直线振动筛结构图


本文由w66利来最给利的老牌设备有限公司编辑上传,转载请注明来源:/hyzx/83.html
你也许还需要这些设备!

特种筛分筛选机

直线振动筛分筛选机

圆振动筛分筛选机

回转摇摆筛分筛选机

精细圆形筛分筛选机

相关新闻

2021-09-24 煤矸石筛分选择维护成本少的沸腾筛进行分级
2020-06-11 没有对等的价格想买到高质量的筛分机
2020-09-26 高频激振器振动筛相比普通激振器的优势
2020-04-16 橡胶助剂筛分除渣机使用什么型号的振动筛
2021-08-18 食品振动筛一般指的都是304级不锈钢筛分机
2020-01-06 标准矿山振筛机与简易矿山振动筛价格对比
2020-11-13 石英石机制砂细小颗粒选用无轴滚筒筛与复振筛区别
2022-06-21 振动电机-振动电机轴承的清洗方法
2022-06-27 皮带输送机安装必知的5个操作技巧,皮带跑偏5种处理方法
2021-11-06 降温输送机常用在铸造砂行业输送转运

振动筛专业厂家-河w66利来最给利的老牌乡鹏威机械厂 技术支持:志远网络

地 址 :河南省新乡市环宇工业园区 业务电话:13346663698 网址:www.cnshaiji.com 豫ICP备20002553号

X
sitemap网站地图